Product Summary
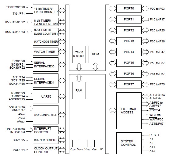
The UPD780022AGK(A)-P26-9ET 8-Bit single-chip microcontroller is a members of the UPD780024 Subseries of the 78K/0 Series.
Parametrics
UPD780022AGK(A)-P26-9ET absolute maximum ratings: (1)Supply voltage, VDD: –0.3 to +6.5 V; (2)Supply voltage, AVDD: –0.3 to VDD + 0.3 V; (3)Supply voltage, AVREF: –0.3 to VDD + 0.3 V; (4)Supply voltage, AVSS: –0.3 to +0.3 V; (5)Output voltage, VO: –0.3 to VDD + 0.3 V; (6)Analog input voltage, VAN, P10 to P17, Analog input pin: AVSS – 0.3 to AVREF0 + 0.3 V and –0.3 to VDD + 0.3 V; (7)Operating ambient tempature, TA: –40 to +85℃; (8)Storage tempature, Tstg: –65 to +150℃.
Features
UPD780022AGK(A)-P26-9ET features: (1)External memory expansion space: 64 Kbytes; (2)Minimum instruction execution time: 0.24 ms (at fX = 8.38-MHz operation); (3)I/O ports: 51 (N-ch open-drain 5-V withstand voltage: 4); (4)8-bit resolution A/D converter: 8 channels (AVDD = 2.7 to 5.5 V); (5)Serial interface: 3 channels; (6)Timer: 5 channels; (7)Power supply voltage: VDD = 1.8 to 5.5 V.
Diagrams

![]() |
![]() UPD70008AG-4 |
![]() Other |
![]() |
![]() Data Sheet |
![]() Negotiable |
|
||||
![]() |
![]() UPD70236AGD-10-5BB |
![]() Other |
![]() |
![]() Data Sheet |
![]() Negotiable |
|
||||
![]() |
![]() UPD7030025AGC-25 |
![]() Other |
![]() |
![]() Data Sheet |
![]() Negotiable |
|
||||
![]() |
![]() UPD703014A |
![]() Other |
![]() |
![]() Data Sheet |
![]() Negotiable |
|
||||
![]() |
![]() UPD703014AY |
![]() Other |
![]() |
![]() Data Sheet |
![]() Negotiable |
|
||||
![]() |
![]() UPD703015A |
![]() Other |
![]() |
![]() Data Sheet |
![]() Negotiable |
|
||||
(China (Mainland))








