Product Summary
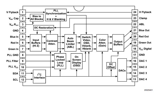
The LM1237DOB pre-amp is an integrated CMOS CRT preamp. It has an I2C compatible interface which allows control of all the parameters necessary to directly setup and adjust the gain and contrast in the CRT display. Brightness and bias can be controlled through the DAC outputs which are well matched to the LM2479 and LM2480 integrated bias clamp ICs. The LM1237DOB preamp is also designed to be compatible with the LM246x high gain driver family. The LM1237DOB is ideal for: (1)Low end 15 and 17 bus controlled monitors with OSD; (2)1024x768 displays up to 85 Hz requiring OSD capability; (3)Very low cost systems with LM246x driver.
Parametrics
LM1237DOB absolute maximum ratings: (1)Supply Voltage, Pins 15 and 19: 6.0V; (2)Peak Video DC Output Source Current (Any One Amp) Pins 18, 19 or 20: 1.5 mA; (3)Voltage at Any Input Pin (VIN): VCC +0.5 > VIN >-0.5V; (4)Video Inputs (pk-pk): 0.0 < VIN < 1.2V; (5)Thermal Resistance to Ambient (θJA): 51℃/W; (6)Power Dissipation (PD) (Above 25℃ Derate Based on θJA and TJ): 2.4W; (7)Thermal Resistance to case (θJC): 32℃/W; (8)Junction Temperature (TJ): 150℃; (9)ESD Susceptibility: 3.5 kV; (10)ESD Machine Model: 350V; (11)Storage Temperature: -65℃ to +150℃; (12)Lead Temperature (Soldering, 10 sec.): 265℃.
Features
LM1237DOB features: (1)I2C compatible microcontroller interface; (2)Internal 254 character OSD usable as either (a) 190 2-color plus 64 4-color characters, (b) 318 2-color characters, or (c) some combinatioibetween; (3)OSD override allows OSD messages to override video and the use of burn-iscreens with no video input; (4)4 DAC outputs (8-bit resolution) for bus controlled CRT bias and brightness; (5)Spot killer which blanks the video outputs wheVCC falls below the specified threshold; (6)Suitable for use with discrete or integrated clamp, with software configurable brightness mixer; (7)H and V blanking (V blanking is optional and has register programmable width); (8)Power Saving Mode with 80% power reduction; (9)Matched to LM246x driver and LM2479/80 drivers.
Diagrams

![]() |
![]() LM12 |
![]() Other |
![]() |
![]() Data Sheet |
![]() Negotiable |
|
||||||||||||
![]() |
![]() LM12 80W |
![]() Other |
![]() |
![]() Data Sheet |
![]() Negotiable |
|
||||||||||||
![]() |
![]() LM120 |
![]() Other |
![]() |
![]() Data Sheet |
![]() Negotiable |
|
||||||||||||
![]() |
![]() LM1205N |
![]() Other |
![]() |
![]() Data Sheet |
![]() Negotiable |
|
||||||||||||
![]() |
![]() LM1208 |
![]() Other |
![]() |
![]() Data Sheet |
![]() Negotiable |
|
||||||||||||
![]() |
![]() LM120H-12/NOPB |
![]() National Semiconductor (TI) |
![]() Linear Regulators - Standard |
![]() Data Sheet |
![]()
|
|
||||||||||||
(China (Mainland))









